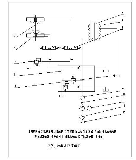
液壓萬能材料試驗機液壓站主要由油箱、油泵、濾油器、電動機、電磁閥、安全閥等組成。液壓站工作原理是液壓油通過油泵到集成集成閥塊總成一個過程,通過各種布局的電磁閥和壓力閥給予液壓油缸供油,液壓油缸在高壓的作用下,使油缸上下運動。而材料試驗機的主機部分由四根立柱將缸體與上梁連接在一起,在試驗機的上橫梁上裝有調節絲杠,電機升降絲杠可調整試驗機的空載高度,絲杠下端裝有球座與上壓板。下壓板置與油缸的活塞上,當試件與上壓板接觸時,上壓板球座能自調正平衡、使試件與上下壓板保持水平。下壓班上刻有試件定位用的刻線,做試驗時試件要對準刻線,活塞與油缸間設有密封裝置,可以防止液壓油外泄,但使用時活塞仍有少量液壓油流出,所以在缸體頂端有環型油槽,并由泄油通道排出,流回油箱。

萬能材料試驗機的液壓油在密閉空間內輸送壓力是遵循帕斯卡定律。六立柱式萬能材料試驗機的傳動系統包括動力油源、微機控制系統、主機工作系統。均采用高壓齒輪泵作為驅動源,液壓萬能試驗機共有三個油缸,主油缸、液壓夾緊油缸兩只,通過油泵向電磁閥供油。電磁閥由專業的試驗機軟件控制流量的大小,來保證活塞內的壓力。試驗開始后,壓力隨試樣的拉力而上升,來保證使試驗過程中需要的較大力,使試驗完美結束或者達到力保持的目的。
|